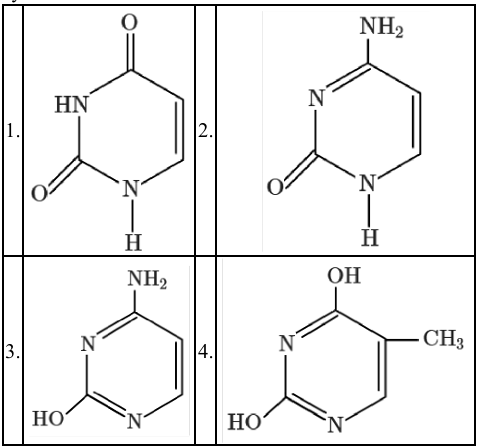
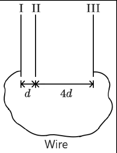
NEET REVISION TEST 1 (24.01.2026)

Welcome to your NEET REVISION TEST 1 (24.01.2026)

More posts

error: Content is protected !!